Docencia e Investigación
Arriba Último Nro. Índice Nros. Anteriores Índices Históricos

ISSN: 1575-2844

Revista Vivat Academia

 Histórico. Año VI

linea.gif (922 bytes)

Noviembre 2003. Nº 50

Contenido de la sección:

La hora oficial (Benjamín Hernández Blázquez)
Los cielos rasos y negros de noviembre (Benjamín Hernández Blázquez)
Relés electromagnéticos y electrónicos. Parte I: relés y contactores (Arturo Pérez París)

La hora oficial

Benjamín Hernández Blázquez. Universidad Complutense de Madrid.

Flavio Claudio Juliano, denominado el Apóstata, fue el último emperador que honró a los dioses del Olimpo; las parcas, que regían los destinos informaron a Zeus que su reino se había extinguido y que debían abandonar su morada. Furioso, este dios, destruyó el palacio con un rayo y todos se fueron al campo en espera de tiempos mejores; así los mortales pudieron volver a contar el tiempo por semanas, días y horas, como les había enseñado el titán Prometeo. Ya lejos de la mitología, y en plena sociedad de consumo, los relojes como contables del espíritu del tiempo, tendrán un protagonismo adicional la noche del 25 al 26 de octubre, casi coincidiendo en el cambio de luna a Nueva.

La Unión Europea, en lo que atañe a sus Estados miembros, coordina que, "a las tres horas los cronómetros se retrasarán sesenta minutos"; esta argumentación se postula en aras del mejor aprovechamiento de la luz solar y consecuentemente del ahorro de energía. El cambio de hora oficial, distinto a la hora civil o legal, se inició en la Europa Occidental al terminar la Primera Gran Guerra, y solamente fue interrumpido por el interregno de la Segunda. En este intervalo, en España, se registraron hasta diez modificaciones horarias; este evento solía fijarse en fechas contiguas a las equinocciales, aunque a partir de 1984 se instauró definitiva y oficialmente. Sin embargo, como era fácil equivocarse de hora, en los múltiples quehaceres cotidianos, los medios de comunicación insertaban dibujos, pictogramas o infogramas de relojes.

El sufrido y disciplinado ciudadano ajustaba su reloj antes de dormir; o después como los ocasionales turistas, que lo hacían al cabo de su destino tras preguntar por el horario de compras. En los años que siguieron a la infausta guerra civil, en cada hogar y como número extremo, había un reloj; despertadores, "cides, titanes, o micros", eternos y puntuales vigías de las labores agrícolas. Hoy en cada hogar coexisten variadas marcas, clases y modelos, amén de los que operan sincronizados con aparatos eléctricos o electrónicos de rango superior. En cualquier caso, los relojes son máquinas del tiempo, y a veces actúan como elementos románticos inscritos en la era de la tecnología.

Desde hace milenios, el hombre nómada o sedentario se ha sentido preocupado por la medida del tiempo que regulaba y marcaba el ritmo de sus actividades. Inicialmente fue la observación del Sol lo que le permitió conocer la hora, bien por la longitud de la sombra proyectada por un palo vertical, o bien proyectada sobre el cuadrante solar. Fue el primer cronómetro o piedra horaria. Posteriormente fueron apareciendo los relojes de arena, de campana, neumático, de péndulo, clepsidras, solar..., hasta los atómicos.

El cambio de hora, basado en el denominado Tiempo Universal, produce distintos desajustes en el organismo humano, tal vez más psicológicos que fisiológicos, aunque en cualquier caso estas anomalías no pasan de dos o tres días. Empero subyace cierta preocupación, que puede parecer paradójica al compararla con las vivencias de muchas personas los fines de semana, pues cada vez que salen se acuestan al día siguiente, pierden el ritmo y sufren los efectos como si volaran a Nueva York o a los Ángeles. Es el conocido "jet lag" o desajuste horario provocado por un viaje en avión, y que soportan los que se desplazan a países lejanos: inquietud, sensación de sueño, cambios de atención, etc, no son otra cosa que desajustes de nuestro "reloj biológico".

Naturalmente, estos efectos horarios inciden con mayor fuerza en niños y ancianos, los primeros tienen su "reloj" en desarrollo y los segundos rezuman cierto cansancio. El ambiente solar suele equilibrarlos, sobre todo en España, donde se cuenta con la ventaja de la existencia de luz suficiente, tanto en una estación como en la otra, a diferencia de otros países como los nórdicos en los que estos trastornos se dilatan más horas. Pero los humanos no somos los únicos, también los animales terrestres sufren estos trastornos, que según los biólogos tienen un ritmo aproximado de 24 horas, incluso los que viven en zonas subterráneas y no se rigen por los estímulos lumínicos. La producción animal puede verse alterada, por lo que el sector ganadero toma sus precauciones para que el cambio sea gradual sobre todo en las granjas.

En esta dinámica y versátil sociedad de la información en la que estamos inmersos, se propugna el valor del tiempo, del mismo modo que se infravalora y despilfarra. Sin embargo, filósofos y antropólogos defienden que son los orientales los que tienen el dominio de las manecillas del reloj porque en su tiempo histórico no ha entrado aún el estrés.

Volver al principio del artículo             Volver al principio

Los cielos rasos y negros de noviembre

Benjamín Hernández Blázquez. Universidad Complutense de Madrid.

Las cortas y aún menguantes jornadas novembrinas inician su trayectoria otoñal; casi siempre se las refiere en tono peyorativo: "dichoso mes que comienza en los Santos y termina con San Andrés" o "marzo trae las hojas y noviembre las despoja". Otras veces, la filosofía refranera utiliza este mes como indicador empírico de ciertas costumbres ya obsoletas: "a primeros de noviembre, la lumbre enciende", también "a mitad de noviembre y en adelante, el invierno es constante" o "por san Eugenio, (día 14) las castañas al fuego, la leña en el hogar y las viejas a guardar".

Sin embargo. noviembre, y sobre todo en lo que atañe a este año, en su haber tiene connotaciones distintas. Desde las primeras ferias exhibe un escenario natural único donde se representa el mayor espectáculo astronómico del año, superior, incluso al "marciano" agosto. Como colofón de octubre, y extrapolada una semana, en las calendas se presenta una tormenta solar similar a las de 1994 y 97, según el Instituto Nacional de Meteorología, "generada por una inusual actividad solar". Añade, que "lo más llamativo es que el Sol se encuentra en una fase inesperada tres años después que su ciclo de actividad de 11 años de duración alcanzara su cenit". Incide este fenómeno, en las actividades cotidianas con fallos en los sistemas de navegación aérea, cortes de comunicación y problemas en la telefonía móvil, que están siendo noticia en la prensa nacional; en la atmósfera conforma una lluvia de rayos x, acompañando de nubes de gases procedentes del sol.

Por otra parte los calendarios meteorológicos anuncian el segundo eclipse total de luna la noche del 8 al 9, y como el de mayo, visible en España y en todas sus fases. Según predijeron los astrónomos, "la inmersión o paso de un astro por detrás de otro, será entre las 23 h 33’ y la 1 h 07’ Tiempo Universal, desde ese momento y hasta la 1h 33’ la totalidad". "La emersión o salida de su sombra, sucede entre esta hora y las 3 h 06, ya del día 9", festividad de la madrileña Almudena, y antesala del denominado "veranillo de san Martín, que dura tres días y fin". "Asimismo para el 23, está anunciado otro eclipse total, de sol, "pero sólo visible desde la soledad de la Antártida".

Las noches de los otoños castellanos, salvo su progresiva duración, son difíciles de tipificar. Viento, lluvia, cielos rasos o negros, oscuridad, silencio, ruidos... son elementos que citan escritores y poetas castellanos, lejos del paradigma de otras estaciones o épocas. Gabriel y Galán en sus "Campesinos" decía:

"...una música que dice como suenan en los chozos
las sentencias de los viejos y las risas de los mozos
y el silencia de las noches en la inmensa soledad
y el hervir de los calderos en las lumbres pavorosas
y el llover de los abismos en las noches tenebrosas,
y el ladrar de los mastines en la densa oscuridad".

El cielo otoñal es parco en astros brillantes, aunque escudriñando la noche en la primera semana y de madrugada se observa una lluvia de estrellas la de las Tauridas, importante para los astrónomos aunque menos famosa que las "lagrimas de san Lorenzo". En la tercera semana acontece la segunda lluvia que sucede en este mes, las Leonidas, que destacan por exhibir una velocidad superior a ninguna otra. Este año se espera su máxima actividad la noche del 18 al 19 con la servidumbre de la luna menguante.

Abundando en noticias astronómicas también, a excepción de Mercurio, pueden contemplarse el resto de los planetas que figuran en el inventario de la posible visión, como Marte aunque lejos de los registros de agosto y septiembre, susceptible de observarse hasta la media noche. Venus puede verse durante el crepúsculo vespertino a escasa altura sobre el horizonte suroeste; también son visibles Saturno y Júpiter, éste al final de la larga noche.

Dada la versatilidad de noviembre y lejos del convencionalismo tradicional el Nóbel Cela escribía "mes extraño que viste de gris como los dandis por la mañana temprano, como las panzas de los asnos sentimentales y como el cielo de las vísperas de lluvia".

Volver al principio del artículo             Volver al principio

Relés electromagnéticos y electrónicos. Parte I: relés y contactores

Arturo Pérez París

Desde que terminé mis estudios de Telecomunicaciones, algunos nuevos campos he ido descubriendo en el amplio mundo de la electricidad y de la electrónica. Un campo que me sorprendió mucho es el de los automatismos industriales, a saber, relés de todo tipo, contactores, etc. En el presente artículo, dividido en dos partes, pretendo realizar una humilde introducción a estos elementos. Como en anteriores escritos, quisiera poner de manifiesto que está orientado a lectores con ciertos conocimientos, no muchos por cierto, pero sí algunos. Empecemos entonces.

La norma UNE define al relé como el dispositivo destinado a producir determinadas modificaciones, cuando se cumplen ciertas condiciones en un circuito eléctrico que influyen sobre él, en el mismo circuito o en otro distinto. El circuito sobre el que actúa el relé sirve de control o de señalización.

Muchos son los dispositivos eléctricos que cumplen con esta definición. Desde el relé simple hasta el relé temporizado, con los mecanismos más complejos para el accionamiento de señales o el relé diferencial. En este artículo nos ceñiremos a los relés electromecánicos y a los circuitos electrónicos que, por extensión, se han dado en llamar interruptores o relés electrónicos. Al tratar los relés electromecánicos, por razones de semejanza en el funcionamiento y en su constitución, también hablaremos del contactor.

Definimos un relé electromagnético como aquél interruptor mandado a distancia, que vuelve a la posición de reposo cuando la fuerza de accionamiento deja de actuar sobre él. El mando a distancia presenta dos ventajas importantes: primero, la instalación puede efectuarse con una evidente economía, pues bastan dos hilos que unan la bobina del relé con el puesto de mando; segundo, aísla al operario de los puntos peligrosos de la instalación.

El funcionamiento se basa en la excitación de una bobina que magnetiza a un núcleo de hierro y éste a su vez atrae una armadura móvil a la cual van unidos los contactos:

fig01.jpg (34808 bytes)

La parte de mando es el electroimán, el cual está constituido por un núcleo magnético y una bobina. El núcleo magnético está formado por chapas laminadas y aisladas entre sí cuando el relé está destinado a trabajar con corriente alterna, o es de acero macizo en caso de trabajar con corriente continua. La razón de esta diferencia se justifica diciendo que, en alterna, las corrientes de Foucault calientan el núcleo y aumentan las pérdidas; y un modo de evitar parte de estas pérdidas es usando chapas laminadas. Además, estos núcleos deben poseer la propiedad de tener bajo poder coercitivo, con el fin de no retener la parte móvil del electroimán, llamada armadura, cuando haya cesado la fuerza de atracción creada por el campo de la bobina.

Otra diferencia existente entre los núcleos magnéticos, además de la ya mencionada, consiste en una espira en cortocircuito, que recibe el nombre de espira de sombra, que llevan los núcleos para corriente alterna. Sirve para evitar que la armadura golpee sobre el núcleo cada vez que la corriente magnetizante y el flujo correspondiente pasen por cero, dos veces cada periodo, y la armadura tienda a abrirse momentáneamente.

La espira de sombra evita este "parpadeo" (en el gremio de los "chispas" lo llaman "releteo") y sus consecuencias, debido a que, por su disposición, tal y como se aprecia en la siguientes figuras, el flujo principal induce en ella una corriente alterna y ésta, a su vez, un flujo auxiliar desfasado del principal 120º, de manera que, cuando el flujo principal pasa por cero, el auxiliar tiene un valor tal que evita que la armadura se abra.

fig02.jpg (33877 bytes)

fig03.jpg (30478 bytes)

Cuando cesa la corriente de excitación de la bobina, un muelle a tal efecto empuja la armadura en sentido opuesto y ésta vuelve a su posición de reposo.

La bobina va devanada sobre un carrete de baquelita o material termoplástico y está formada por varias capas de hilo de cobre electrolítico aislado con esmalte. Una vez realizado el devanado, se somete a ensayos de calentamiento y sobre tensión, ya que del correcto funcionamiento de la bobina dependerá, consecuentemente, el del relé. Para mayor seguridad de funcionamiento, suelen calcularse de manera que, aun con tensiones del 10 % por encima y por debajo del valor nominal, el accionamiento sea correcto.

En cuanto al comportamiento, se aprecian grandes diferencias según se alimenten con corriente continua o alterna. Alimentadas con corriente continua, la oposición sólo se debe al valor de la resistencia óhmica, debiendo por ello poseer muchas espiras y ser de hilo fino. Cuando se usan en alterna, la corriente absorbida no depende sólo de la resistencia óhmica sino también de la reactancia. En posición de reposo, la reactancia del electroimán es baja, ya que el entrehierro es grande; como consecuencia, la bobina absorbe una gran intensidad de corriente en la conexión. Cuando la estructura magnética se cierra, la reactancia aumenta y la intensidad de corriente disminuye hasta su valor nominal. Por esta razón, la bobina para alterna se construye con hilo más grueso y menos espiras que la bobina para continua. Ahora bien, si por cualquier circunstancia el cierre no es perfecto, la corriente por la bobina es superior a la nominal, lo que puede provocar un calentamiento que la llegue a fundir. Esta, circunstancia no tiene tanta importancia en corriente continua, pues la corriente absorbida es siempre igual.

Los contactos son los elementos del relé sometidos al trabajo más duro. Además, su función, cierre o apertura de los circuitos, es precisamente la que se desea obtener del conjunto del relé. Estas dos razones obligan a los fabricantes a poner especial interés en su elaboración. Los contactos deben reunir las siguientes cualidades: alta conductividad eléctrica y térmica, pequeña resistencia al contacto, débil tendencia al soldeo, buena resistencia a la erosión producida por el arco, dureza elevada, gran resistencia mecánica y poca tendencia a formar óxidos o sulfuros, que poseen elevada resistencia eléctrica. Es difícil encontrar un material que reúna estas cualidades; por ello habrá que buscar la solución en las aleaciones. Entre las más importantes se pueden nombrar: plata-cadmio (buena conductora y elevada dureza) y plata-níquel (buena conductora y resistente al arco eléctrico). Estas dos aleaciones se usan cuando los relés realizan muchas maniobras/hora o controlan corrientes elevadas. Para poco número de maniobras, se puede usar la aleación platino-iridio.

Los relés que controlan valores pequeños pueden incluso dotarse de contactos de oro o cobre; éste último si se pretende una solución más económica. La forma de los contactos tiene también una importancia decisiva, sobre todo para la vida de los mismos. A primera vista, podría parecer que unos contactos planos y de gran superficie son los más adecuados; sin embargo, es preciso tener en cuenta que es imposible conseguir un perfecto paralelismo entre ambas superficies en el momento de la conexión y desconexión y ello hace que no se utilice toda ella. Dándoles forma convexa, se obtendrá una superficie menor; pero, a igual fuerza, la presión será mayor en este caso. Por otra parte, esta forma favorece la extinción del arco, auque no lo elimine completamente. Así las cosas, contactos típicos son los que seguidamente mostramos:

fig04.jpg (31694 bytes)

El contacto propiamente dicho va sujeto, por soldadura, a una laminilla de alpaca o bronce de poco espesor y cuya forma depende del modelo del relé. La fijación de estas laminillas es tal que van aisladas entre sí y, al tiempo, son accesibles y puede aumentarse su número o cambiarse por otras según las necesidades. La armadura del relé mediante algún sistema mecánico desplaza estas laminillas hasta un tope, que está colocado a más distancia que la que separa los contactos, con el fin de asegurar la buena unión de éstos. Como de su estado depende la función eléctrica que se pretendía del relé, su conservación es importante; de ahí que sea recomendable su limpieza o, incluso, si hiciera falta la reposición del relé entero.

La definición dada para el relé puede servir igualmente para el contactor. Su funcionamiento está basado en el mismo principio. Las diferencias radican en los valores eléctricos que se manejan con uno y otro dispositivo. El contactor está pensado para trabajar como interruptor automático, con corrientes y tensiones más elevadas. De hecho, va provisto de tres contactos abiertos llamados principales, más robustos que los restantes de¡ contactor. Estos contactos principales son los destinados a las maniobras del circuito de potencia de los montajes tales como alimentación de motores. El circuito electromagnético, la bobina, la espira de sombra realizan idéntica función, y la diferencia estriba en el tamaño y algún otro detalle de poca importancia.

fig05.jpg (37489 bytes)

El trabajo con elevados valores de tensión y corriente hacen obligatorio dotar a los contactores con sistemas de separación entre contactos, cosa que no era necesaria en los relés. Las cámaras donde se alojan los contactos evitan la ionización del aire producida por el arco que salta entre los mismos y con ello se favorece la extinción de dicho arco, aumentando así la vida del contactor.

Los contactores de elevada potencia van dotados de un sistema de soplado por aire a presión o de soplado magnético. Esto dará idea de la importancia tan decisiva que tiene, en la vida del contactor, la extinción del arco. Desde luego, para circuitos en los que pueden circular hasta 250 Amperios, no es difícil imaginar el deterioro que sufrirán los contactos si no poseen alguno de los sistemas comentados.

Resumiendo, podría decirse que el soplado magnético se basa en la acción ejercida por un campo magnético que incide perpendicularmente sobre el arco, estirándolo y debilitándolo rápidamente:

fig06.jpg (26025 bytes)

El soplado por aire a presión consiste en el envío de un chorro de aire a presión que incide perpendicularmente sobre el arco alargándolo y enfriándolo:

fig07.jpg (11522 bytes)

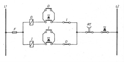
Como aplicación elemental de estos dispositivos, pero al tiempo muy empleada, tenemos el mando automático mediante pulsadores. En el circuito que a continuación se muestra, puede verse el esquema de potencia que aparecen simbolizados los fusibles F, los contactores D e I, el relé térmico RT y el motor, al tiempo que puede comprobarse cómo, en función del contactor accionado, cambian las fases conectadas a L1, L2 y L3 a través de los contactores.

fig08.jpg (40048 bytes)

La tensión del circuito de mando se toma de las fases de alimentación; este circuito lleva su propia protección F; el accionamiento de los contactores se realiza desde los pulsadores de marcha, llevando un contacto de realimentación cada contactor, y un contacto cerrado que sirve de enclavamiento eléctrico de manera que, mientras el motor gira hacia la derecha, contactor D, no puede ponerse en funcionamiento el contactor del sentido izquierda, contactor 1 y viceversa.

fig09.jpg (11058 bytes)

Otro tipo de relé muy empleado, sobre todo como sensor magnético es el de tipo Reed. Están constituidos por un par de láminas de baja reluctancia, ferromagnéticas, herméticamente cerradas en un tubo de vidrio lleno de un 97% de nitrógeno y un 3 % de hidrógeno a unos cuantos kp/cm2 de presión:

fig10.jpg (14256 bytes)

Las láminas son de níquel-hierro y, en la zona de contacto, suelen llevar un baño de oro. La potencia de conmutación puede llegar hasta 60 VA, con 220 V de tensión alterna. El número de maniobras es de varios cientos de millones, con un tiempo de reacción de 0,5 ms.

Al someter las láminas a la acción de un campo magnético creado por una bobina, los extremos de las láminas adquieren polaridades de distinto signo y, cuando el flujo magnético es suficiente, las fuerzas de atracción cierran el circuito que se desea gobernar.

fig11.jpg (30878 bytes)

Para contactos normalmente cerrados, se dota al conjunto con un imán permanente, que mantiene cerrado el contacto. El campo que crea la bobina cuando es excitada anula la acción de¡ imán y abre el interruptor:

fig12.jpg (30637 bytes)

El accionamiento del relé puede realizarse mediante una bobina o un imán permanente, según las aplicaciones prácticas en las que se utilicen. La distancia a la que deben estar situados el contacto y el imán dependerá de la sensibilidad de las láminas y de la fuerza del imán. Cuando se hallen lo suficientemente próximos, el contacto normalmente abierto se cerrará. Al distanciarse el contacto volverá a la posición que ocupaba, aunque se tendrá presente que la distancia para el cierre es siempre inferior a aquélla que provoca la apertura.

Los casos más comunes son los siguientes:

a) Movimiento perpendicular. Hay una sola posición de cierre con un movimiento máximo del imán:

fig13.jpg (16350 bytes)

b) Movimiento paralelo. Puede haber hasta tres cierres con un movimiento máximo del imán. Se podrá conseguir un cierre con un movimiento mínimo:

fig14.jpg (12096 bytes)

c) Movimiento de rotación. Girando el contacto o el imán perpendicularmente a su eje, se obtendrán dos cierres per vuelta. Cuando los ejes son paralelos, el interruptor está cerrado. Cuando están perpendiculares, el interruptor está abierto:

fig15.jpg (8849 bytes)

d) Movimiento pivotante. Para conseguir el cierre, el imán deberá realizar un movimiento angular considerable:

fig16.jpg (16507 bytes)

e) Pantalla. En este tipo de utilización el interruptor y el imán son fijados de una manera permanente en una posición tal que los contactos están cerrados. Una pieza de metal ferromagnético se interpone entre el imán y el interruptor para provocar la apertura, pues actúa de pantalla:

fig17.jpg (12364 bytes)

f) Polarización. La polarización creada por un imán fijo próximo al interruptor hace que éste permanezca normalmente cerrado. La aproximación de otro imán polarizado inversamente anula las líneas de fuerza y el interruptor se abre:

fig18.jpg (17510 bytes)

Algunos de estos casos podrían tener su aplicación en sistemas como los que a continuación se muestran, en el que el imán va fijo a una leva:

fig19.jpg (16406 bytes)

En el siguiente ejemplo se acciona por presión de aire:

fig20.jpg (22590 bytes)

Otro podría ser por medio de un flotador:

fig21.jpg (28918 bytes)

Por último, el relé se acciona al desaparecer la pantalla.

fig22.jpg (22871 bytes)

En todos estos ejemplos queda puesto de manifiesto el principal uso de este tipo de relés: como sensor magnético, capaz de controlar gran señal. Por otro lado el movimiento de proximidad con bobina, la otra manera de manejar este tipo de dispositivos, se hará básicamente de las cuatro manera básicas siguientes:

a) Contacto simple. El contacto se cierra cuando la bobina es excitada

fig23.jpg (19757 bytes)

b) Cierre por impulso. La bobina A crea un campo cuyo valor es un poco inferior al que el relé necesita para el cierre. Un corto impulso en la bobina B cierra el contacto, que permanece cerrado

fig24.jpg (30602 bytes)

c) Apertura por bobina. El imán mantiene cerrado el contacto en ausencia de corriente en la bobina. El campo creado por la bobina al ser excitada anula el campo de¡ imán y abre el interruptor

fig25.jpg (22794 bytes)

d) Diferencial. Siguiendo las polaridades respectivas de las bobinas A y B; el cierre puede hacerse para muy pequeñas o muy grandes diferencias

fig26.jpg (32513 bytes)

En la entrega del próximo mes, estudiaremos los interruptores electrónicos, también denominados relés electrónicos.

Volver al principio del artículo             Volver al principio
linea.gif (922 bytes)
Vivat Academia, revista del "Grupo de Reflexión de la Universidad de Alcalá" (GRUA).
REDACCIÓN
Tus preguntas y comentarios sobre este Web dirígelos a vivatacademia@uah.es
Copyright © 1999 Vivat Academia. ISSN: 1575-2844.  Números anteriores. Año VII
Última modificación: 11-04-2004